WeekendHobby.com
เครื่องมือในการใช้งาน website =>> สมัครสมาชิก | Login | Logout | เปลี่ยนไอคอนส่วนตัว | เกี่ยวกับเรา | ติดต่อโฆษณา         View stat by Truehits.net


M 151 ฉบับนายหงอก
นายหงอก
จาก นายหงอก
223.204.154.243
ศุกร์ที่ , 13/5/2554
เวลา : 13:38

อ่านแล้ว = 29427 ครั้ง
 เก็บเข้ากระทู้ส่วนตัว
แจ้งตรวจสอบกระทู้
 แจ้งลบ
ส่งหาเพื่อน ส่งหาเพื่อน

       M151 คือหนังสือที่ผมอยากอ่าน ครับ ถ้าผมอ่านผิดหรืออ่านไม่ออก ก็ช่วยเหลือผมด้วยนะครับ






 แสดงความคิดเห็นย่อย แสดงความคิดเห็นย่อย

แจ้งเพื่อเก็บขึ้นกระทู้พิเศษ คลิ๊กที่นี่แจ้งเพื่อนำขึ้นกระทู้พิเศษ

คำตอบแบ่งหน้าละ 30 คำตอบ ขณะนี้คุณอยู่ที่หน้า 6 จาก >>> 1  2  3  4  5  6  7  

คำตอบที่ 151
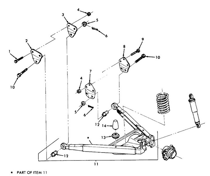
       คราวนี้มาดูระบบช่วงล่างบ้าง วัตถุประสงค์หลักของการเปลี่ยนแปลงคือการเปลี่ยนปีกนกนกหลัง จากเดิม M151 และ M151 A1 ใช้ปีกนกหลังในลักษณะ A ARM





 แสดงความคิดเห็นย่อย แสดงความคิดเห็นย่อย

นายหงอก จาก นายหงอก 49.49.122.124 อังคาร, 14/6/2554 เวลา : 21:04   

edit แก้ไขคำตอบ   delete ลบคำตอบ 107744

คำตอบที่ 152
       แต่ของ A2 จะมีลักษณะเป็นแผ่นปีกนก มีขนาดใหญ่กว่ามาก นัยว่าจะให้มีการเกาะถนนดียิ่งขึ้น





อ๋อมันเป็นอย่างนี้นี่เอง เพิ่งรู้จริงๆครับป๋า
จาก : Bigaoy(Bigaoy) 17/6/2554 22:34:42 [223.206.136.165]
 แสดงความคิดเห็นย่อย แสดงความคิดเห็นย่อย

นายหงอก จาก นายหงอก 49.49.122.124 อังคาร, 14/6/2554 เวลา : 21:08   

edit แก้ไขคำตอบ   delete ลบคำตอบ 107745

คำตอบที่ 153
       ปีกนกหลังของ A2





 แสดงความคิดเห็นย่อย แสดงความคิดเห็นย่อย

นายหงอก จาก นายหงอก 49.49.122.124 อังคาร, 14/6/2554 เวลา : 21:10   

edit แก้ไขคำตอบ   delete ลบคำตอบ 107746

คำตอบที่ 154
       หลงลืมไป กระจังหน้าของ A1 ใต้โคมไฟใหญ่ซ้าย ขวา จะเจาะเป็นช่องกลมเล็กๆไว้ ภายในจะฝังไฟหรี่ ไว้ทั้ง 2ข้าง แต่ของ A2 ไม่มี





 แสดงความคิดเห็นย่อย แสดงความคิดเห็นย่อย

นายหงอก จาก นายหงอก 49.49.122.124 อังคาร, 14/6/2554 เวลา : 21:39   

edit แก้ไขคำตอบ   delete ลบคำตอบ 107748

คำตอบที่ 155
       ไฟหรี่ A1 ครับ ***ขอยืมรูปครับ***





 แสดงความคิดเห็นย่อย แสดงความคิดเห็นย่อย

hs8ofh จาก เณร Black army 182.52.68.146 ศุกร์, 17/6/2554 เวลา : 10:11   

edit แก้ไขคำตอบ   delete ลบคำตอบ 107917

คำตอบที่ 156
       .............................................





โอ้โห ป๋าเท่ห์จริงๆ V-Rod หรือปล่าวเนี่ย...
จาก : ม้าเหล็ก(bullseye) 21/6/2554 9:30:18 [202.122.130.31]
 แสดงความคิดเห็นย่อย แสดงความคิดเห็นย่อย

pajuk จาก กุ้ง บางบอน 111.84.209.174 ศุกร์, 17/6/2554 เวลา : 21:20   

edit แก้ไขคำตอบ   delete ลบคำตอบ 107961

คำตอบที่ 157
       ป๋าออกทัวร์อีกแล้ว...



 แสดงความคิดเห็นย่อย แสดงความคิดเห็นย่อย

นกกระปูด7 จาก นกกระปูด7 223.204.35.93 ศุกร์, 17/6/2554 เวลา : 23:45   

edit แก้ไขคำตอบ   delete ลบคำตอบ 107964

คำตอบที่ 158
       จุดเล็กๆอีกจุดหนึ่ง ซึ่งอาจถือได้ว่าไม่เป็นสาระของการดำรงอยู่ของการเป็นยานพาหนะคือแผ่นสะท้อนแสง ของ A1 จะเป็นแผ่นพลาสติกสีแดงกลมแบนอยู่ใกรอบโลหะ ติดอยู่ทางด้านท้ายและจุดกึ่งกลางยางอะไหล่





 แสดงความคิดเห็นย่อย แสดงความคิดเห็นย่อย

นายหงอก จาก นายหงอก 223.207.41.204 จันทร์, 20/6/2554 เวลา : 16:02   

edit แก้ไขคำตอบ   delete ลบคำตอบ 108098

คำตอบที่ 159
       A2 จะเป็นแผ่นเทป สีแดง





 แสดงความคิดเห็นย่อย แสดงความคิดเห็นย่อย

นายหงอก จาก นายหงอก 223.207.41.204 จันทร์, 20/6/2554 เวลา : 16:03   

edit แก้ไขคำตอบ   delete ลบคำตอบ 108099

คำตอบที่ 160
       A2





 แสดงความคิดเห็นย่อย แสดงความคิดเห็นย่อย

นายหงอก จาก นายหงอก 223.207.41.204 จันทร์, 20/6/2554 เวลา : 16:11   

edit แก้ไขคำตอบ   delete ลบคำตอบ 108100

คำตอบที่ 161
       ทับทิมกลมแดง คลาสสิคกว่า..



 แสดงความคิดเห็นย่อย แสดงความคิดเห็นย่อย

นกกระปูด7 จาก นกกระปูด7 223.206.137.210 จันทร์, 20/6/2554 เวลา : 22:49   

edit แก้ไขคำตอบ   delete ลบคำตอบ 108139

คำตอบที่ 162
       ได้ความรู้มากเลยครับ ขอบคุณครับ



 แสดงความคิดเห็นย่อย แสดงความคิดเห็นย่อย

mu_m151 จาก Mu 205.156.180.229 อังคาร, 21/6/2554 เวลา : 16:36   

edit แก้ไขคำตอบ   delete ลบคำตอบ 108209

คำตอบที่ 163
       ได้ความรู้เอาไปทำรถผมมากเลยครับ ติดตามอยู่ครับ



 แสดงความคิดเห็นย่อย แสดงความคิดเห็นย่อย

mu_m151 จาก Mu 205.156.180.229 พุธ, 22/6/2554 เวลา : 13:29   

edit แก้ไขคำตอบ   delete ลบคำตอบ 108297

คำตอบที่ 164
       A1 จะออกแบบขาคันเร่งน้ำมัน ACCERTOR เป็นเหล็กกลม แล้วตีปลายให้แผ่แบนเป็นตีนเป็ดไว้สำหรับเหยียบ





 แสดงความคิดเห็นย่อย แสดงความคิดเห็นย่อย

นายหงอก จาก นายหงอก 223.205.39.165 พฤหัสบดี, 23/6/2554 เวลา : 18:44   

edit แก้ไขคำตอบ   delete ลบคำตอบ 108523

คำตอบที่ 165
       A2 จะเป็นเหล็กเหลี่ยม แล้วดัดปลายเป็นรูปสี่เหลี่ยมโปร่ง





 แสดงความคิดเห็นย่อย แสดงความคิดเห็นย่อย

นายหงอก จาก นายหงอก 223.205.39.165 พฤหัสบดี, 23/6/2554 เวลา : 18:47   

edit แก้ไขคำตอบ   delete ลบคำตอบ 108524

คำตอบที่ 166
      



 แสดงความคิดเห็นย่อย แสดงความคิดเห็นย่อย

นกกระปูด7 จาก นกกระปูด7 223.206.139.128 พฤหัสบดี, 23/6/2554 เวลา : 21:45   

edit แก้ไขคำตอบ   delete ลบคำตอบ 108535

คำตอบที่ 167
       ได้กล่าวแล้ว M151ใช้ปั๊มไฟฟั ซ่อนอยู่ในถังน้ำมันเชื้อเพลิง M151 A1 ก็ยังคงเป็นเช่นนั้น แต่สำหรับ A2 จะเป็นปั๊ม AC ติดตั้งอยู่ภายในห้องเครื่อง





 แสดงความคิดเห็นย่อย แสดงความคิดเห็นย่อย

นายหงอก จาก นายหงอก 223.204.95.70 พุธ, 29/6/2554 เวลา : 17:12   

edit แก้ไขคำตอบ   delete ลบคำตอบ 108799

คำตอบที่ 168
       เมื่อปั๊มเปลี่ยน ถังน้ำมันส่วนบนก็เปลี่ยนตาม โดยใช้ท่อ งวงงอๆ เป็นตัวดูดน้ำมันในถัง ส่วนปลายจะมีตัวกรองสิ่งสกปรกครอบอยู่





 แสดงความคิดเห็นย่อย แสดงความคิดเห็นย่อย

นายหงอก จาก นายหงอก 223.204.95.70 พุธ, 29/6/2554 เวลา : 17:20   

edit แก้ไขคำตอบ   delete ลบคำตอบ 108800

คำตอบที่ 169
       เรื่องถังน้ำมันยังเป็นที่ถกเถียงกันอยู่ ผู้รู้หลายท่านมีความเห็นต่างกัน บางท่านก็ว่า ถังน้ำมัน A2 จะมีปุ่มเปิดเป็นโหนดอยู่หลายปุ่ม ไม่ใช่ถังที่มีตัวเปิดขนาดใหญ่ มีน็อต 12 ตัว อยู่ตรงกลางดังภาพข้างต้น เมื่อเปิด TM ดู แต่ละเล่มก็ไม่เหมือนกัน เป็นแบบนี้ก็มี





 แสดงความคิดเห็นย่อย แสดงความคิดเห็นย่อย

นายหงอก จาก นายหงอก 223.204.95.70 พุธ, 29/6/2554 เวลา : 18:01   

edit แก้ไขคำตอบ   delete ลบคำตอบ 108801

คำตอบที่ 170
       ...อยากชม series "M 38 A1 ฉบับนายหงอก" บ้างครับ ท่านนายหงอก



โอ้โห...ข่าวสารสมัยนี้รวดเร็วแท้ ฮือฮือ
จาก : ติมหาชัย(ติมหาชัย) 30/6/2554 7:56:11 [223.204.90.55]
 แสดงความคิดเห็นย่อย แสดงความคิดเห็นย่อย

คน2บ้าน จาก คน2บ้าน 125.26.104.6 พุธ, 29/6/2554 เวลา : 21:00   

edit แก้ไขคำตอบ   delete ลบคำตอบ 108815

คำตอบที่ 171
       ไดชาร์ตของ A1 ใช้ได 25 แอมป์





 แสดงความคิดเห็นย่อย แสดงความคิดเห็นย่อย

นายหงอก จาก นายหงอก 223.204.154.1 พฤหัสบดี, 30/6/2554 เวลา : 18:00   

edit แก้ไขคำตอบ   delete ลบคำตอบ 108867

คำตอบที่ 172
       จึงต้องใช้ VOLTAGE REGULATOR เป็นตัวช่วย





 แสดงความคิดเห็นย่อย แสดงความคิดเห็นย่อย

นายหงอก จาก นายหงอก 223.204.154.1 พฤหัสบดี, 30/6/2554 เวลา : 18:04   

edit แก้ไขคำตอบ   delete ลบคำตอบ 108868

คำตอบที่ 173
       ส่วน A2 ใช้ได 60 แอมป์ ไม่ต้องใช้อุปกรณ์อื่นใดเป็นตัวช่วย





 แสดงความคิดเห็นย่อย แสดงความคิดเห็นย่อย

นายหงอก จาก นายหงอก 223.204.154.1 พฤหัสบดี, 30/6/2554 เวลา : 18:08   

edit แก้ไขคำตอบ   delete ลบคำตอบ 108869

คำตอบที่ 174
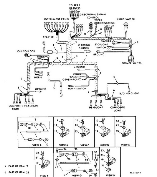
       เมื่อระบบไฟและระบบน้ำมันเชื้อเพลิงเปลี่ยน ระบบสายไฟก็ต้องเปลี่ยนตาม
ระบบสายไฟของ A1
























 แสดงความคิดเห็นย่อย แสดงความคิดเห็นย่อย

นายหงอก จาก นายหงอก 223.204.154.1 พฤหัสบดี, 30/6/2554 เวลา : 18:20   

edit แก้ไขคำตอบ   delete ลบคำตอบ 108870

คำตอบที่ 175
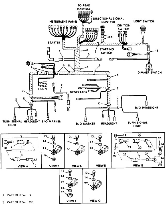
       A2



 แสดงความคิดเห็นย่อย แสดงความคิดเห็นย่อย

นายหงอก จาก นายหงอก 223.204.154.1 พฤหัสบดี, 30/6/2554 เวลา : 18:23   

edit แก้ไขคำตอบ   delete ลบคำตอบ 108871

คำตอบที่ 176
      



 แสดงความคิดเห็นย่อย แสดงความคิดเห็นย่อย

นายหงอก จาก นายหงอก 223.204.154.1 พฤหัสบดี, 30/6/2554 เวลา : 18:25   

edit แก้ไขคำตอบ   delete ลบคำตอบ 108872

คำตอบที่ 177
      



 แสดงความคิดเห็นย่อย แสดงความคิดเห็นย่อย

นายหงอก จาก นายหงอก 223.204.154.1 พฤหัสบดี, 30/6/2554 เวลา : 18:27   

edit แก้ไขคำตอบ   delete ลบคำตอบ 108873

คำตอบที่ 178
      





 แสดงความคิดเห็นย่อย แสดงความคิดเห็นย่อย

นายหงอก จาก นายหงอก 223.204.154.1 พฤหัสบดี, 30/6/2554 เวลา : 18:29   

edit แก้ไขคำตอบ   delete ลบคำตอบ 108874

คำตอบที่ 179
      





 แสดงความคิดเห็นย่อย แสดงความคิดเห็นย่อย

นายหงอก จาก นายหงอก 223.204.154.1 พฤหัสบดี, 30/6/2554 เวลา : 18:32   

edit แก้ไขคำตอบ   delete ลบคำตอบ 108875

คำตอบที่ 180
       โอ้โห..ละเอียดลึกจริง ๆ ครับป๋าหงอก..ตอนแรกกะว่าจะไม่แซว ขอดูไปเรื่อย ๆ ไม่ให้เสียอรรถรส..แต่ดูไปดูมา สงสัยจะเป็นมหากาพย์ซะแร้ว..ละเอียด ละเมียด ละไม จริง ๆ ครับ.. ไปวัดกำแพงเมื่อไร บอกด้วยครับป๋า..คราวที่แล้วติดธุระจริง ๆ ครับ..ข้าน้อยสมควรตายหมื่นครั้ง..



 แสดงความคิดเห็นย่อย แสดงความคิดเห็นย่อย

tmvc-003 จาก จิ๊ปกบฏ 115.87.72.173 พฤหัสบดี, 30/6/2554 เวลา : 18:46   

edit แก้ไขคำตอบ   delete ลบคำตอบ 108876

      

ยังมีคำตอบมากกว่านี้นะครับ คลิ๊กเพื่อดูหน้าถัดไป


คำตอบแบ่งหน้าละ 30 คำตอบ ขณะนี้คุณอยู่ที่หน้า 6 จาก >>> 1  2  3  4  5  6  7  



website รองรับการใช้งานทุกระบบปฏิบัติการของ PC Tablet SmartPhone ทุกระบบสามารถโพสข้อความและรูปภาพได้โดยไม่ต้องย่อไฟล์
เพื่อความปลอดภัยในการใช้ website WeekendHobby.Com สมาชิก เท่านั้น จึงจะตั้งกระทู้ หรือ ตอบกระทู้ได้ครับ
Login Click ที่นี่
สมัครสมาชิก Click ที่นี่



Since 22, Feb 2001 hit counter View My Stats  Truehits.net      วันอาทิตย์,19 เมษายน 2569 (Online 1064 คน)