WeekendHobby.com


ผมเคยสงสัยว่าถ้าทำแบบนี้กับลูกหมากปีกนกล่างได้หรือไม่

จาก วีรโรจน์
จันทร์ที่ , 8/1/2550
เวลา : 16:29

อ่าน = 3008
203.113.80.138
       ผมเคยสงสัยว่าถ้าทำแบบนี้กับลูกหมากปีกนกล่างได้หรือไม่
ของเดิม จากพื้น ปีกนกล่าง ลูกหมากหันน็อตขึ้นบน คอม้า
ของใหม่ จากพื้น คอม้า ลูกหมากหันน็อตลงล่าง ปีกนกล่าง
น่าจะนึกภาพออกนะครับ

ทำแล้วน่าจะสูงขึ้นราว 2 นิ้ว แต่ต้องขยับตัวยึดสายเบรคหลบหน่อย และก็รองปีกนกบนสัก 2 นิ้ว

เครื่องมือในการใช้งาน website =>> สมัครสมาชิก | Login | Logout | เปลี่ยนไอคอนส่วนตัว | เกี่ยวกับเรา | ติดต่อโฆษณา         View stat by Truehits.net


   
   

คำตอบที่ 1
       เอ อันนี้ก็ไม่เคยลองนะน้า ลองถามช่างดูก่อนดีมั๊ยครับ
ถ้าเป็นไง ส่งข่าวมาด้วยครับเพื่อเป็นประสบการณ์แก่เพื่อนๆ



book 339 จาก Book 339  203.113.33.10  จันทร์, 8/1/2550 เวลา : 18:11   


คำตอบที่ 2
       เคยคิดจะทำแบบนี้ มาก่อน ครับ แต่ต้องเอาไปให้โรงกลึงทำ นะ ครับ เพราะรู มันจะเป็นทรงกรวย (พอนึกภาพออกมั้ยครับ)ครับ ต้องเชื่อมอุดรูแล้วกลึงรูใหม่แบบให้หันลูกหมากลง ปีกนกบนรองลูกหมากอีก 2 นิ้ว ก็จะได้ความสูงเพิ่มโดยอัตโนมัติ 2 นิ้ว (แต่ผมเสียดายคอม้าเดิมก็เลยไม่ได้ทำน่ะ ครับ )



จาก nonk  158.108.104.221  จันทร์, 8/1/2550 เวลา : 18:40   


คำตอบที่ 3
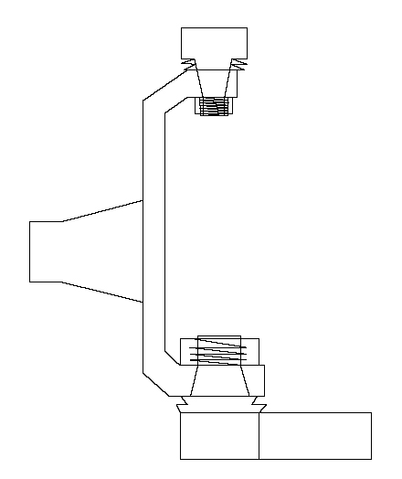
       ตัวนี้แบบเดิม ครับ





จาก nonk  158.108.104.221  จันทร์, 8/1/2550 เวลา : 19:18   


คำตอบที่ 4
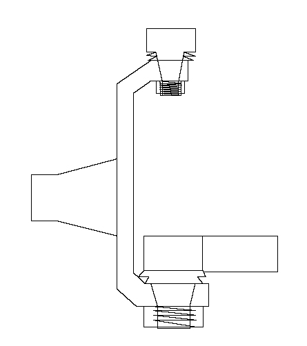
       ตัวนี้เป็นไอเดีย ที่เคย คิดไว้ว่าจะทำ





จาก nonk  158.108.104.221  จันทร์, 8/1/2550 เวลา : 19:19   


คำตอบที่ 5
       ใส่รูปผิด จริงๆแล้วรูป บนคือ ตัวที่ต้องแปลง ครับ ส่วน รูป ล่าง คือยังไม่แปลง



จาก nonk  158.108.104.221  จันทร์, 8/1/2550 เวลา : 19:21   


คำตอบที่ 6
       ผมว่าจะมีปัญหาเรื่องการรับน้ำหนัก ความเครียดของนอตยึดลูกหมากจะมากเอานะครับอาจขาดได้ถ้ามีการให้ตัวหรือกระแทกมากๆ จากที่มันรับน้ำหนัก มันจะต้องเป็นเป็นตัวยึดและดึงน้ำหนักไว้แทน เหมือนกับเราลองหงายมือแล้วถือลูกตุ้มไว้ กับคว่ำมือแล้วถือลูกตุ้มให้อยู่นานเท่ากัน แบบไหนจะเมื่อยกว่ากัน
ลองคิดดูเล่นๆฮะ อย่าไปลองเลยผมว่านะไม่ดีหรอก เดี๋ยวพังเอานะเรื่องใหญ่หากพังตอนวิ่ง





book 339 จาก Book 339  203.113.32.11  จันทร์, 8/1/2550 เวลา : 22:18   


คำตอบที่ 7
       มันเป็นทรงกรวยด้วยหรือครับ
ผมไม่ค่อยห่วงเรื่องการรับน้ำหนักครับ คิดว่าไม่น่ามีปัญหา เหมือนแหนบหลัง อยู่ล่างหรือบนก็ได้ อาจจะมีปัญหาเรื่องการทรงตัวรถหรือป่าว ในกรณีที่จุดศุนย์ถ่วงสุงขึ้น แต่ก็ไม่มีรถรุ่นไหนจากโรงงานทำเหมือนกัน



จาก วีรโรจน์  203.113.80.138  อังคาร, 9/1/2550 เวลา : 08:24   


คำตอบที่ 8
       มีครับ รุ่น KB ก่อน TFR งัย ผมเคยเห็นมาแล้ว ลูกหมากตัวล่างจะเป็นแบบคว่ำหัวลง และพวก Ford Masda ขับสองทั่วไปก็คว่ำลงเหมือนกัน ไม่รวมพวกขับสี่ นะ ที่จะเป็นแบบคว่ำลง แทบจะทุกรุ่น เลย ครับ โรดิโอ ก็ คว่ำลง(ในรูปเป็นรุ่น โรดิโอ ครับ)





จาก nonk  158.108.104.221  อังคาร, 9/1/2550 เวลา : 09:05   


คำตอบที่ 9
       เรื่องรับน้ำหนักผมว่ามีผลโดยรวมน้อยกว่า เรื่องค่ามุมล้อ นะ ครับ(ล้อจะออกแนวแบะมากขึ้น) ถ้าโรงกลึงทำไม่ดี อาจมีปัญหาเรื่องกินยางได้ นะ ครับ ยังงัยต้องพิจารณาดู นะ ครับ(คอม้าที่ติดรถมาจะมีมุมเอียงอยู่ ครับ ไม่ได้ ตั้งตรง อย่างรูปที่ ผม วาด ให้ดู อ่ะ)



จาก nonk  158.108.104.221  อังคาร, 9/1/2550 เวลา : 09:22   


คำตอบที่ 10
       อย่างนี้ก็ทำได้สิครับ
ถ้าไม่เชื่อมอุด คงต้องกลึงมุมเทเปอร์ที่มีรูแกนตรงกลาง สวมอัดเข้าไป เชื่อมด้านปลายด้านล่าง เจาะแล้วทำเทเปอร์ใหม่ด้านบน
ส่วนเรื่องที่มันเอียงๆ มันเอียงแบบไหนครับ เอียงแนวหน้าหลังหรือซ้ายขวา มันก็มีผลแน่ ระหว่างยึดล่างกับ บน
ไม่รู้มันเอียงเยอะไหม จะตั้งแคมเบอร์ แคสเตอร์ได้ไหม



จาก วีรโรจน์  125.27.15.32  อังคาร, 9/1/2550 เวลา : 11:49   


คำตอบที่ 11
       แล้วมันสูงขึ้นเยอะมะครับ



book 339 จาก Book 339  203.113.33.11  อังคาร, 9/1/2550 เวลา : 14:58   


คำตอบที่ 12
       ทำได้ครับของเพื่อน tfr ทำมาแล้ว แต่ต้องรองสเปเซอร์ที่ปีกนกบนด้วยจะตั้งศูนย์ได้ง่ายขึ้นครับ แต่ว่าสูงขึ้นมากเลยนะครับ



จาก โอเล่  58.8.155.58  อังคาร, 9/1/2550 เวลา : 15:45   


คำตอบที่ 13
       คุณโอเล่ ถามหรือเอารูปมาให้ดูทีได้ไหมครับ



จาก วีรโรจน์  125.27.8.13  อังคาร, 9/1/2550 เวลา : 16:01   


คำตอบที่ 14
       อย่างนี้เอาคอม้า 4WD มาใส่กับลูกหมาก 2WD ล่างและบนได้ไหมครับ



จาก วีรโรจน์  125.27.8.13  อังคาร, 9/1/2550 เวลา : 16:03   


คำตอบที่ 15
       สมมุติว่า ถ้าเราเจาะรูได้เท่ากับมุมเดิมๆ แต่เราเอาลูกหมากไปไว้ด้านบนเมื่อไหร่ มีผลเหมือนกับว่าปีกนกล่างเราจะมีความยาวเพิ่มขึ่นประมาณ 2-3 ซ.ม. ล้อเราก็จะออกแนวประมาณนี้ / \ ครับ ดังนั้นต้องแก้ที่ปีกนกบนด้วย ครับให้ชดเชยกัน(งานยากสุด อยู่ที่ปีกนกบน นี่แหละ ครับจะทำงัยให้มันยาวขึ้น และความแข็งแรง ต้องไม่เสียไป) คอม้าพวกขับสี่ ส่วนที่ต่อกับลูกหมากบน จะยาวกว่าพวกขับสอง ทั่วไป อ่ะ ครับ



จาก nonk  158.108.104.221  อังคาร, 9/1/2550 เวลา : 16:34   


คำตอบที่ 16
       ขออนุญาตเจ้าของรูปด้วยนะ ครับ
ตัวโรดิโอขับสี่ ที่ใส่ชุดยก SUN 5 นิ้ว (ให้ดูเล่นๆ ครับ เผื่อ จะเกิด ไอเดีย ใหม่ๆ ครับ)





จาก nonk  158.108.104.221  อังคาร, 9/1/2550 เวลา : 16:51   


คำตอบที่ 17
       น้านก ตกลงนี่ลูกหมากคันชัก คว่ำได้ใช่ปะครับ บางร้านบอกคว่ำไม่ได้ ในรูปดูเหมือนมีรอย แตกๆอะครับมานเป็นอะไรครับ
แล้ว มีรูปกลับลูกหมากปีกนกล่างชัดๆป่าวครับน้าอยากดูอะครับ



book 339 จาก Book 339  203.113.33.10  อังคาร, 9/1/2550 เวลา : 22:35   


คำตอบที่ 18
       แสดงว่าแนวของรูคอม้าที่ปีกนกล่างก็เป็น / \ ( ตามแนวซ้ายขวาของตัวรถ ) พอเอาลูกหมากขึ้นบน ความยาวรวมเลยยาวขึ้น 2 เซนตั้งศุนย์ไม่ได้แน่ อย่างนี้เหล็กรองลูกหมากบนแบบตรงๆ คงแก็ปัญหาไม่ได้

ขอโทษนะครับ ในรูปลูกหมากคันส่งไม่ใช่หรือครับ ไม่รู้ว่ากลับได้หรือป่าว แต่ถ้ากลับแล้ว จะช่วยลดมุมเอียงของคันชักกับคันส่งได้เยอะ หลวมช้าลง

ที่อยากได้คอม้า 4WD ต้องการลูกปืนล้อที่ใหญ่นะครับ



จาก วีรโรจน์  125.27.8.13  พุธ, 10/1/2550 เวลา : 08:23   


คำตอบที่ 19
       หวัดดี น้า book ครับลูกหมากคันชัก คว่ำไม่ได้ครับ เพราะรูลูกหมากเป็นทรงกรวย อ่ะ ในรูป ตั้งใจจะให้ดูลูกหมากบน อ่ะ เค้าจะต่อคอม้าให้ยาวขึ้น ส่วนลูกหมากคันชักก็ต้องยาวขึ้นเหมือนกัน แต่อย่างที่ น้าวีรโรจน์ บอกคือใช้เหล็กรองลูกหมากแบบตรงๆ ไม่ได้ น่ะครับ ต้องทำเยื้องหนีมุม ไม่งั้นนอกจากจะตั้งศูนย์ไม่ได้แล้ว ลูก หมากบนจะพังเร็วขึ้น ครับ (คอม้าเดิมของตัวโรดิโอ ตรงส่วนคันชัก เป็นแบบหงายขึ้น ครับ แต่ชุดยกของ SUN เค้าทำใหม่ให้ คว่ำลง อ่ะ ครับ)



จาก nonk  158.108.104.221  พุธ, 10/1/2550 เวลา : 09:16   


คำตอบที่ 20
       สรุปว่าลูกหมากในรถทุกตัวเป็นมุมเทเปอร์เพื่อกันไม่ให้ใส่กลับด้านทั้งหมด

ไม่รู้ว่าเหล็กรอง ถ้าทำแบบน็อตเยื้องกัน ของเดิมๆ ใช้น็อตร้อยผ่านปีกนกผ่านเหล็กรองไปยึดลูกหมากตัวเดียว ถ้าแบ่งเป็นน็อต 2 ตัว ตัวบนยึดปีกนกกับเหล็กรอง อีกตัวยึดเหล็กรองกับลูกหมาก น็อตเยื้องกันราว 2 เซ้น จะแข็งแรงหรือป่าว
พอนึกภาพกันออกนะครับ

หรือทำรูที่คอม้ายึดลูกหมากล่างชดเชย



จาก วีรโรจน์  125.27.8.13  พุธ, 10/1/2550 เวลา : 10:20   


คำตอบที่ 21
       ผมว่าต่อคอม้าให้ยาวขึ้น เหมือนของ SUN น่าจะแข็งแรงกว่ารองแท่งเหล็ก เยื้อง ครับ น็อตเบอร์ 10 ผมว่าเอาไม่อยู่หรอก ครับ ขาดชัวว์ หรือหาปีกนกแต่ง ที่สร้างมาเป็นพิเศษมาใช้ก็ไม่เลว ครับ (ต่อคอม้าจ้างโรงกลึง ทำด้วยเหล็กเหนียว พร้อมดร๊อปคันชัก ด้วย)



จาก nonk  158.108.104.221  พุธ, 10/1/2550 เวลา : 10:33   


คำตอบที่ 22
       รถของ น้าbook เป็นขับสี่ หรือ เปล่า ครับ(ขับสี่ ลูกหมากจะคว่ำลง อยู่แล้ว ถ้าขับสองลูกหมากจะหงายขึ้น ครับ) ในรูปเป็น โรดิโอ ครับ ลูกหมากปีกนก ล่างจะคว่ำลง






จาก nonk  158.108.104.221  พุธ, 10/1/2550 เวลา : 11:28   


คำตอบที่ 23
       ผมว่าถ้าจ้างโรงกลึงต่อคอม้า อุดรูที่ปีกนกล่างแล้วทำรูให้ขยับไป น่าจะง่ายกว่า หรือโรงกลึงต่อคอม้าได้ง่ายๆ หรือป่าว ผมไม่รู้เหมือนกัน
แต่ทำปีกนกใหม่ก็น่าสน แต่ก็ยาก วุ่นวาย เอาแป๊ปเหล็กเหนียวมาทำ เลาะเอาแกนที่ใส่บูชปีกนกมา เสร็จแล้วสวยดี

ถ้าได้ สูง 2 -3 นิ้วแบบสวยๆ สบายๆ ไม่แข็งกระด้าง มุมไม่งัด ยัดทอร์ชั่นทรูปเปอร์หรือมิวเข้าไป น่าจะเยี่ยม ไม่รู้จะเกิน 4000 - 5000 บาทไหม ค่าโม



จาก วีรโรจน์  125.27.8.13  พุธ, 10/1/2550 เวลา : 12:11   


คำตอบที่ 24
       ขับ 4 ครับ





book 339 จาก Book 339  203.113.33.12  พุธ, 10/1/2550 เวลา : 13:18   


คำตอบที่ 25
       ความสูงที่ได้ถ้าไม่ขันทอร์ชั่นบาร์ขึ้นอีก 2 นิ้วกว่าๆแน่นอน แต่ถ้าอยากสูงอีกนิด ขันทอร์ชั่นบาร์ขึ้น อีก 2 นิ้ว ก็น่าจะไม่มีปัญหานะ แล้วยกตัวถังช่วยอีก 3-4 นิ้ว ก็แจ่ม เลย (ปีกนกตัวบน คงต้องรองเหล็กยาวมากกว่า 3 นิ้ว ไม่งั้นระยะให้ตัว จะมีน้อยเกินไป )

*** รถน้า book ลูกหมากคันชัก ชันไปหน่อยนะครับ ถ้ากลับลูกหมากได้น่าจะช่วยได้เยอะ นะครับ อิอิๆๆ***



จาก nonk  158.108.104.221  พุธ, 10/1/2550 เวลา : 13:53   


คำตอบที่ 26
       ไปให้โรงกลึงทำให้ได้มะน้านก มันกลับได้ใช้มะน้า



book 339 จาก Book 339  203.113.33.7  พฤหัสบดี, 11/1/2550 เวลา : 09:34   


คำตอบที่ 27
       ต้องลื้อ เอาคอม้า ไปให้โรงกลึงทำ ครับ เชื่อมอุดรูแล้วก็เจาะกลึงใหม่ อย่าลืมติดลูกหมากไปด้วยกันเหนียว ครับ อิอิๆๆ เสร็จแล้ว ต้องเอารถไปตั้งศูนย์ใหม่ด้วย



จาก nonk  158.108.104.221  พฤหัสบดี, 11/1/2550 เวลา : 15:38   


คำตอบที่ 28
       รบกวนน้าbook339คร้บ เปลี่ยนปีกนกล่างแล้วความสูงเพิ่มขึ้นกี่นิ้วครับ ราคาเท่าไรครับและจัดหาได้ที่ไหนครับ



จาก อ๋องIZU544  203.170.236.178  ศุกร์, 12/1/2550 เวลา : 12:55   


คำตอบที่ 29
       สูง 5 นิ้ว ครับ
ขอหลังไมค์ แล้วกันนะท่านอ๋อง โทรมาละกันครับ 084-756-6993



จาก book 339 ไม่ได้ลอกอิน  124.121.174.241  ศุกร์, 12/1/2550 เวลา : 13:21   


คำตอบที่ 30
       ขอโทษครับรูปคงเอามาให้ดูไม่ได้แล้วครับเพราะรถขายไปแล้วมันมีปัญหาอย่างในรูปคต.ที่16 เห็นลูกหมากไหมครับนั่นละปัญหามันงัดและหลวมประจำ ก่อนขายมันหลุดจากเบ้าครับ พอดีก็บอกปัญหาไปแล้วว่ายกแล้วจะไม่ทนเหมือนstdนะ เห็นเพื่อนอีกคนมันรับได้ก็จะเอาไปทำต่อครับ แต่ตอนนี้ก็ไม่รู้ขายต่อใครไปแล้วเหมือนกันครับ ถ้าเคยเห็นรถสีทองที่ยกแล้วล้อหน้าไม่ถ่างออก และมีสติกเกอร์ 4X2 คาดข้างรถล่ะคันนั้นเลยครับ



จาก โอเล่  58.8.153.92  ศุกร์, 12/1/2550 เวลา : 17:29   


คำตอบที่ 31
       ยางที่ใหญ่ขึ้นก็ทำให้เจ้งเร็วกว่าปกติอยู่แล้วครับ แล้วลูกหมาก 2WD ก็ไม่ทนเท่า 4WD ถ้ายกแล้วมันสูง ใส่ยางใหญ่ๆ โตได้ดี ก็พังไวมาก



จาก วีรโรจน์  125.27.3.25  จันทร์, 15/1/2550 เวลา : 08:12   


คำตอบที่ 32
       แต่รถที่ผมใช้อยู่เป็นชุดยกคอม้า มีปัญหาที่ยางหนวดกุ้งแตกเร็ว และ บุชปีกนกบนพังบ่อย อ่ะ ครับ ใช้ได้ประมาณ 3 เดือน ก็ ต้อง เปลี่ยน ซะแล้ว(รถวิ่งทางไกล ตลอด ครับ) แต่ลูกหมากบน-ล่างตั้งแต่ซื้อรถมา ยังไม่ได้ เปลี่ยน เลย ครับ เป็นรถมือสองใช้มา 3 ปี แล้ว แต่กับเจ้าของเดิมไม่รู้ว่าเคยเปลี่ยนมาหรือยัง ว่าจะเปลี่ยนไปใช้ แบบยูรีเทน ลอง ดู อาจจะดีขึ้น



จาก nonk  158.108.104.221  จันทร์, 15/1/2550 เวลา : 10:10   


คำตอบที่ 33
       บูชปีกนกแบบยูรีเทน ราคาเท่าไหร่ วรจักรมีขายใหม



จาก ttt  203.113.35.10  จันทร์, 15/1/2550 เวลา : 10:32   


คำตอบที่ 34
       มันก็ขึ้นอยู่กับการขับและขนาดยางและการยกดังกล่าวทำให้มุมหรือลักษณะของช่วงล่างจุดใดบ้างเปลี่ยนแปลงไป
ถ้ายางหนวดกุ้งและบูชปีกนกเสียเร็ว ( 3 เดือนเร็วมาก ) ทั้ง 2 ตัวมันจะเป็นตัวยันไม่ให้ล้อเคลื่อนที่ในแนวหน้าและหลัง
ถ้าใส่ยาง 31 - 32 ขึ้น ช่วงล่างเสียไวแน่ แต่ไม่รู้ว่าแต่ละตัวจะเร็วขนาดไหน

บูชยูรีเทนเคยอ่านเจอ ถ้าแบบถูกๆ มันจะเป็นพลาสติกสีสวยๆ ห่วยกว่าบูชเดิมๆอีก แต่ของแท้จริงๆ ก็แพง

ถ้าเปลี่ยนแล้ว ตัวมันเองแข็งแรงขึ้นเยอะ จะไม่สึกหรอหรือช้าลง ดังนั้นอย่างอื่นที่มันเดิมๆ มันจะสึกหรอแทนน่ะครับ
พอนึกภาพออกนะครับ ช่วงล่างที่มีอุปกรณ์หลายตัวในชุดเดียวกัน ถ้าตัวใดอ่อนแอสุด มันจะเสียบ่อย ถ้าโมให้มันทนขึ้นอย่างอื่นจะเสียแทน



จาก วีรโรจน์  125.27.14.145  จันทร์, 15/1/2550 เวลา : 11:50   


คำตอบที่ 35
       ผมเช็คราคา มาแล้ว ครับ เป็นของ SuperPro บุชปีกนกบนซ้าย-ขาว 5,775 บาท ,บุชปีกนกล่างซ้าย-ขวา 1,950 บาท ครับ (แพงจัง เก็บตังค์ ก่อน ละ กัน นะ อิอิๆๆ)
ติดต่อคุณ ไพบูลย์ 02-2490311 ต่อ 303 หรือ 081-9211680



จาก nonk  158.108.104.221  จันทร์, 15/1/2550 เวลา : 12:35   


คำตอบที่ 36
       ของแท้ๆ แพงครับ ตกชิ้นละราว 1000 บาท
สั่งทำเองดีกว่าไหม



จาก วีรโรจน์  125.27.14.145  จันทร์, 15/1/2550 เวลา : 14:13   


คำตอบที่ 37
       ได้ยินมาว่าเป็นของนำเข้าจากออสเตรเลีย แต่ไม่รู้ว่าคุณภาพเป็นงัย บ้าง แต่ถ้าสั่งทำ ก็ไม่รู้ ว่าจะถูกกว่ากันมากน้อย เท่าไหร่(สั่งน้อยชิ้นกลัว เค้าไม่รับทำ อ่ะดิ )



จาก nonk  158.108.104.221  จันทร์, 15/1/2550 เวลา : 16:32   


คำตอบที่ 38
       สั่งกลึงไม่น่าแพง ไม่รู้ว่ายูรีเทนแท่งๆ แพงไหม



จาก วีรโรจน์  125.27.14.145  จันทร์, 15/1/2550 เวลา : 16:35   


คำตอบที่ 39
       ยืมคำแนะนำน้าโจ้มาใช้หน่อยครับ "ลองไปทริบดูก่อนว่าเราต้องการแค่ไหนครับ" ยกมาก็มีข้อดีข้อเสียต่างกันไป
ปล.ต้องลองไปดูก่อนทั้งทางโหดมากโหดน้อยแล้วจะรู้ครับว่าชอบแบบไหน





book 339 จาก Book 339  203.113.32.12  อังคาร, 16/1/2550 เวลา : 02:57   


คำตอบที่ 40
       รถผมขับสอง คงไปทางโหดๆ แบบ น้าbook ไม่ไหว แน่ๆ ทุกวันนี้วิ่งทางดำอย่างเดียว เฉลี่ยเดือนละ 15,000 กิโล



จาก nonk  158.108.104.221  อังคาร, 16/1/2550 เวลา : 18:19   


คำตอบที่ 41
       ไม่แน่ใจว่าเดี๋ยวนี้แพงไหมน่ะครับ เพราะของผมเคยซื้อที่วงเวียนโอเดียน กก.ละ 850 ฿เมื่อปี 2540 ต้องเอาแบบสีเหลืองมานะครับ สีขาวเป็นซุปเปอร์ลีน ช่างจะเรียกยูรีเทนขาวกลึงง่ายไม่ดิ้นแต่ใช้แล้วเสียงดังและกินพวกโลหะครับ สีเหลืองเอามากลึงทำบูชหูแหนบกัน เพราะสมัยนู้น ไม่มีขายครับ แต่ค่ากลึงแพงเอาเรื่องเลย เพราะมันหยุ่น จำได้ว่ากลึงไป 50 กว่าตัว ค่าแรง 2000 ฿ เพราะหาร้านรับยากมาก แต่คุ้มค่ามากครับ เพราะตอนถอดออกมาทำแหนบ ก็ยังไม่สึกมาก ของเดิมต่อให้ใช้ แบบมีผ้ากระสอบภายในยังใช้ได้ปีเดียว เวลาเบรคแล้วอาการท้ายปัดออกเลยเวลาบูชเสียเนี่ย
ส่วนที่ขายกันเดี๋ยวนี้เป็นแบบฉีดขึ้นรูปครับ ไม่ค่อยทนแรงฉีกง่ายและนิ่มมีผลชัดตอนเบรคครับถ้าแหนบไม่นิ่งท้ายจะปัดตามแนวที่ล้อหันไปครับ (จากไมตี้)



จาก ton_ln80  58.8.156.2  พฤหัสบดี, 18/1/2550 เวลา : 09:26   


คำตอบที่ 42
       ใครมีขนาดของบูชต่างๆ บ้างไหมครับ



จาก วีรโรจน์  203.155.115.156  เสาร์, 20/1/2550 เวลา : 21:39   


      

Since 22, Feb 2001 hit counter View My Stats  Truehits.net      วัน<%=WeekdayName(Weekday(Date))%>,<%=formatdatetime(date(),1)%> (Online <%=Application("OnlineUsers")%> คน)
                                       

เพื่อลดภาระของ ฐานข้อมูล ซึ่งมีขนาดใหญ่มาก เพราะเวบเปิดมากว่า 10 ปี
จึงทำให้เวบช้าลงมาก ทีมงานจึงขออนุญาต แปลงข้อมูลจาก ฐานข้อมูลหลักเป็น SHTML File
เพื่อลดภาระการทำงานของ ฐานข้อมูลหลักครับ การแปลงฐานข้อมูลนี้ จะทำให้กระทู้นี้
ไม่สามารถตอบคำถามได้อีกต่อไปครับ แต่จะสามารถค้นหาชื่อกระทู้ และ Link ตรงมาที่หน้านี้ได้เหมือนเดิมครับ

ด้วยความนับถืออย่างสูง ทีมงาน Weekendhobby.com


Convert on : 26/8/2554 6:18:19

Error processing SSI file