WeekendHobby.com


ขอความช่วยเหลือจากพี่ๆด่วน sportage เดี้ยงแล้ว

จาก มือใหม่
พฤหัสบดีที่ , 18/1/2550
เวลา : 08:15

อ่าน = 387
203.150.30.31
       ผมถอดตัว Idle (เป็นเกียร์ Auto ติด Gas Fix )มาทำความสะอาดด้วย sonax แต่ฉีดไปมากหน่อยเอากลับเข้ามาใส่สตาร์ไม่ติด สตาร์หลายครั้งจนที่หน้าปัมท์ขึ้น HOLD กระพริบ ผมก็ถอดขั้วแบต (ขั้วบวก) ทิ้งไว้สตาร์ติดได้วิ่งไปจนถึงบ้าน พอเช้ามาสตาร์ไม่ติดอีกแล้ว ลองถอดขั้วแบต (ตอนนี้ถอดขั้วลบ เพราะไม่มีประแจเบอร์ 13 ที่จะถอดขั้วบวก ) ทิ้งไว้สตาร์ใหม่ก็ไม่ติดอีกเลย ฟังเสียงเหมือนหัวเทียนไม่จุดเลยครับ ช่วยด้วยครับไม่มีรถใช้เลย

เครื่องมือในการใช้งาน website =>> สมัครสมาชิก | Login | Logout | เปลี่ยนไอคอนส่วนตัว | เกี่ยวกับเรา | ติดต่อโฆษณา         View stat by Truehits.net


   
   

คำตอบที่ 1
       Idle หมายถึง มอเตอร์เดินเบาใช่ไหม



sutadl จาก เกียขาว  210.1.9.114  พฤหัสบดี, 18/1/2550 เวลา : 08:44   


คำตอบที่ 2
       สวิทย์รีโมทย์กดก่อนสตาร์ทด้วยนะ คากุญแจไม่ได้สตาร์ทไว้นานกว่า 30 วิ ก็จะสตาร์ทไม่ติด...



WAR จาก WAR  203.146.169.60  พฤหัสบดี, 18/1/2550 เวลา : 08:56   


คำตอบที่ 3
       ลองแล้วทั้งหมดที่พี่แนะนำก็ยังไม่หายครับ เห็นช่างแนะนำให้ถอดกรองน้ำมันแล้วสตาร์ดูว่าน้ำมันมาหรือเปล่า ถ้าไม่มาให้ลองเปลี่ยนรีเลย์ ถ้ายังไม่หายน่าจะเป็นเเครงเซ็นเซอร์ แล้วเเครงเซ็นเซอร์มันอยู่ตรงไหนครับพี่ช่วยหน่อยครับ



จาก มือใหม่  203.150.30.31  พฤหัสบดี, 18/1/2550 เวลา : 09:11   


คำตอบที่ 4
       เเครงเซ็นเซอร์ (อยู่ระหว่างหัวหมูเกียร์ชนเครื่องยนต์) อยู่ด้านบนๆ ต้องมุดดูหายากหน่อย...



WAR จาก WAR  203.146.169.60  พฤหัสบดี, 18/1/2550 เวลา : 09:18   


คำตอบที่ 5
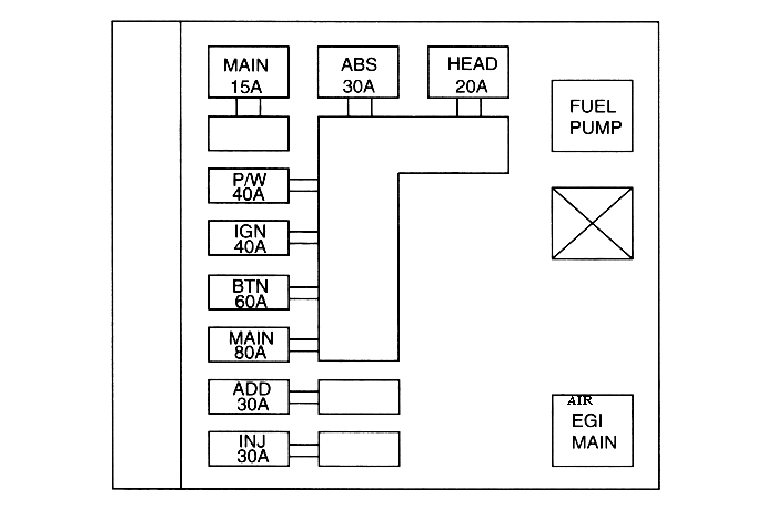
       แก้หายแล้วครับพี่ต้องขอบคุณทุกๆคำตอบครับ ของผมเป็นเพราะขาฟิวส์ที่ในรูปตรง MAIN 15 A. หลวมครับ





จาก มือใหม่  203.150.30.31  พฤหัสบดี, 18/1/2550 เวลา : 13:30   


คำตอบที่ 6
       To คุณมือใหม่
เยี่ยมมากเลยครับต้องอย่างนี้มาบอกสาเหตุของปัญหาเพื่อเป็นความรู้กับคนอื่นๆด้วย....



จาก kia#295  12.110.209.151  พฤหัสบดี, 18/1/2550 เวลา : 13:50   


      

Since 22, Feb 2001 hit counter View My Stats  Truehits.net      วัน<%=WeekdayName(Weekday(Date))%>,<%=formatdatetime(date(),1)%> (Online <%=Application("OnlineUsers")%> คน)
                                       

เพื่อลดภาระของ ฐานข้อมูล ซึ่งมีขนาดใหญ่มาก เพราะเวบเปิดมากว่า 10 ปี
จึงทำให้เวบช้าลงมาก ทีมงานจึงขออนุญาต แปลงข้อมูลจาก ฐานข้อมูลหลักเป็น SHTML File
เพื่อลดภาระการทำงานของ ฐานข้อมูลหลักครับ การแปลงฐานข้อมูลนี้ จะทำให้กระทู้นี้
ไม่สามารถตอบคำถามได้อีกต่อไปครับ แต่จะสามารถค้นหาชื่อกระทู้ และ Link ตรงมาที่หน้านี้ได้เหมือนเดิมครับ

ด้วยความนับถืออย่างสูง ทีมงาน Weekendhobby.com


Convert on : 23/8/2554 5:36:21

Error processing SSI file