WeekendHobby.com
เครื่องมือในการใช้งาน website =>> สมัครสมาชิก | Login | Logout | เปลี่ยนไอคอนส่วนตัว | เกี่ยวกับเรา | ติดต่อโฆษณา         View stat by Truehits.net


พลังงานน้ำคนไทยทำใช้ได้จริงแล้วเหรอครับ
alive
จาก alive
IP:222.123.72.210

พุธที่ , 7/11/2550
เวลา : 00:12

อ่านแล้ว = ครั้ง
 เก็บเข้ากระทู้ส่วนตัว
แจ้งตรวจสอบกระทู้
 แจ้งลบ
ส่งหาเพื่อน ส่งหาเพื่อน

       http://www.thairath.co.th/news.php?section=hotnews02&content=67107

ตามลิ้งครับ



 แสดงความคิดเห็นย่อย แสดงความคิดเห็นย่อย

แจ้งเพื่อเก็บขึ้นกระทู้พิเศษ คลิ๊กที่นี่แจ้งเพื่อนำขึ้นกระทู้พิเศษ

คำตอบแบ่งหน้าละ 30 คำตอบ ขณะนี้คุณอยู่ที่หน้า 1 จาก >>> 1  2  

คำตอบที่ 1
       ตามหลักการทำได้ครับเพราะในน้ำมีไฮโดรเจนจำนวนมาก แต่ข้อสังเกตมีอยู่คือนำไฮโดรเจนมาสร้างกระแสไฟฟ้านั่นคือเราต้องใช้รถไฟฟ้าพลังงานจากน้ำนั่นเอง คำถามคือต้องบรรทุกน้ำเท่าไหร่ในการเดินทาง??? และได้ระยะทางเท่าไหร่??? อีกข้อหนึ่งคือการใช้ไฟฟ้าแยกไฮโดรเจนออกจากน้ำและนำไฮโดรเจนมาสร้างไฟฟ้าอีก คำถามคือไฟฟ้าที่สร้างใหม่จะเพียงพอกับโหลดและการนำมาแยกไฮโดรเจนหรือไม่??? ในต่างประเทศนำน้ำมาแยกไฮโดรเจนเพื่อนำไฮโดรเจนมาสันดาปในเครื่องยนต์เป็นพลังงานความร้อนและได้ไอเสียออกมาเป็นน้ำอีก คำถามคือถ้ารถทุกคันสันดาปออกมาเป็นน้ำถนนคงจะมีแต่น้ำกระมังครับ??? ที่สำคัญถ้าประเทศไหนคิดค้นพลังงานไฮโดรเจนได้สำเร็จก็คงเก็บเป็นความลับสุดยอดเพราะไฮโดรเจนมีไม่จำกัดใช้ที่ไหนก็ได้และพวกที่ผลิตน้ำมันคงไม่อยู่นิ่งแน่นอน

ปัญหาตอนนี้คือการใช้พลังงานอย่างใดอย่างหนึ่งเพื่อแยกไฮโดรเจนยังสิ้นเปลืองมากกว่าผลที่ได้ และอยู่ระหว่างการทดลอง ขอเอาใจช่วยให้สำเร็จจะได้ไม่ต้องจ่ายค่าน้ำมันแพงๆ



 แสดงความคิดเห็นย่อย แสดงความคิดเห็นย่อย

จาก ... 125.26.248.82 พุธ, 7/11/2550 เวลา : 09:43  IP : 125.26.248.82   

edit แก้ไขคำตอบ   delete ลบคำตอบ 14623

คำตอบที่ 2
      
ข่าวคือ ข่าว



 แสดงความคิดเห็นย่อย แสดงความคิดเห็นย่อย

somsaks จาก หนุ่มกระโทก 202.91.18.206 พุธ, 7/11/2550 เวลา : 10:21  IP : 202.91.18.206   

edit แก้ไขคำตอบ   delete ลบคำตอบ 14625

คำตอบที่ 3
       ลองไปดูนี่ดิ เริ่มแล้วล่ะ www.siamhho.com



 แสดงความคิดเห็นย่อย แสดงความคิดเห็นย่อย

จาก อยากได้กะเค้าบ้าง 125.24.100.149 จันทร์, 12/11/2550 เวลา : 21:14  IP : 125.24.100.149   

edit แก้ไขคำตอบ   delete ลบคำตอบ 14798

คำตอบที่ 4
       ถ้าตามลิงก์ที่ให้มา

ผมทดลองทำแล้วสองชุด รับรองว่าได้แกสมากกว่าอันที่เขาโฆษณาแน่นอน และกินไฟน้อยกว่าในปริมาณแกสที่เท่า ๆ กัน

ผมคำนวณทุกขั้นตอน ทั้งความเข้มข้นของสารละลาย

ขนาดและจำนวนของอิเลตโตรด กระแสไฟฟ้า

และจำนวณแกสที่ผลิตออกมาได้

ผลออกมาใกล้เคียงกับที่คำนวณมาก

ผลการทดลองกับเครื่องดีเซล วัดความประหยัดไม่ได้

ถ้าจะใช้กับรถเบนซิน จะต้องมีการหลอกกล่องบ้างเล็กน้อย จึงพอจะเห็นผลบ้าง



 แสดงความคิดเห็นย่อย แสดงความคิดเห็นย่อย

somsaks จาก หนุ่มกระโทก 202.91.19.205 จันทร์, 12/11/2550 เวลา : 21:55  IP : 202.91.19.205   

edit แก้ไขคำตอบ   delete ลบคำตอบ 14800

คำตอบที่ 5
       โอ้ เจ๋งโคตรเลยพี่ ทำขายเลยพี่.....



 แสดงความคิดเห็นย่อย แสดงความคิดเห็นย่อย

จาก อยากได้กะเค้าบ้าง 125.24.105.65 อังคาร, 13/11/2550 เวลา : 08:07  IP : 125.24.105.65   

edit แก้ไขคำตอบ   delete ลบคำตอบ 14815

คำตอบที่ 6
       ปัจจุบันยังใช้อยุ่รึป่าวครับ พี่หนุ่มฯ สนใจอยากเห็นครับผม



 แสดงความคิดเห็นย่อย แสดงความคิดเห็นย่อย

จาก ป้อม kb2200 161.246.1.37 พุธ, 14/11/2550 เวลา : 11:49  IP : 161.246.1.37   

edit แก้ไขคำตอบ   delete ลบคำตอบ 14837

คำตอบที่ 7
       พลังงานแยกน้ำมันกินแรงไดชาร์ทที่ต้องปั่นไฟมาทำมากว่าพลังงานที่ได้รับครับ แทนที่จะประหยัดมันเปลืองกว่าเสียอีก

และพลังงานที่ได้จากไฮโดรเยนมันไม่รู้สึกอะไรเลยเพราะมันผลิตได้ไม่ถึงครึ่งเปอร์เซนต์ของที่เครื่องยนต์ต้องการ

เทียบพลังงานที่ได้เพิ่มขึ้นจากเครื่องยนต์กับเจ็ดป่าช้าของคุณหนุ่มแล้วเหมือนปลายเส้นผมกับหนังส้น.... เลย



 แสดงความคิดเห็นย่อย แสดงความคิดเห็นย่อย

baron จาก von Richthofen 125.24.213.10 พุธ, 14/11/2550 เวลา : 17:17  IP : 125.24.213.10   

edit แก้ไขคำตอบ   delete ลบคำตอบ 14844

คำตอบที่ 8
       ถอดออกมาหลายเดือนแล้วครับคุณป้อม ต้องไปหาแถว
เศษ ๆของที่ผมกอง ๆ เอาไว้

ไว้ค้นขยะเจอแล้วจะถ่ายรูปมาให้ดู

เดี๋ยวขอทำงานที่คงค้างซักวันสองวัน จะแสดงสมการค่าพลังงานให้ชม ว่าตกลง ได้หรือเสีย




 แสดงความคิดเห็นย่อย แสดงความคิดเห็นย่อย

somsaks จาก หนุ่มกระโทก 202.91.19.206 พุธ, 14/11/2550 เวลา : 18:32  IP : 202.91.19.206   

edit แก้ไขคำตอบ   delete ลบคำตอบ 14848

คำตอบที่ 9
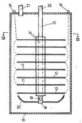
       ป้อม kb2200 ครับ



แบบที่ทำขาย ภายในน่าจะเป็นแบบนี้ครับ อาจจะมีรายละเอียดแตกต่างกันเล็กน้อย

แบบนี้เป็นแบบของ Archie H. Blue น่าจะเป็นชาวนิวซีแลนด์
จด US Patent #4,124,463


ในบรรดารูปทรงกระบอกแบบนี้ ผมว่าของนาย Archie H. Blue น่าจะดีที่สุดแล้ว






 แสดงความคิดเห็นย่อย แสดงความคิดเห็นย่อย

somsaks จาก หนุ่มกระโทก 202.91.18.204 อาทิตย์, 18/11/2550 เวลา : 20:53  IP : 202.91.18.204   

edit แก้ไขคำตอบ   delete ลบคำตอบ 15090

คำตอบที่ 10
       จริง ๆ แล้วทรงกระบอกยังมีแบบที่ดีกว่านี้อีก
แต่การประกอบยากกว่านี้ ใช้วัสดุมากกว่านี้

หลักการผลิตแกส ใช้วิธีการแยกน้ำด้วยกระแสไฟฟ้า หรือ ที่เรียกว่าอิเลคโตรไลซิส
ถูกค้นพบโดย ไมเคิล ฟาราเดย์ ใครเรียนไฟฟ้ามาอาจจะได้เคยเรียน เรื่อง Electro Chemical

สำหรับการแยกน้ำเป็นกาซ ออกซิเจน และไฮโดรเจน สรุป ได้ว่า
การแยกน้ำ 1 โมล ต้องใช้กระแสไฟฟ้า 1 ฟาราเดย์
น้ำ 1 โมล คือน้ำที่มีน้ำหนักโดยประมาณ 18 กรัม ( คำนวณจาก น้ำหนักอะตอม )

1 พาราเดย์ คือ จำนวนประจุไฟฟ้า 96,500 คูลอมบ์
1 คูลอมบ์ คือ กระแสไฟฟ้าที่ไหล 1 แอมป์ในเวลา 1 วินาที
ดังนั้น 1 ฟาราเดย์คือ 96,500/3600 = 26.8 แอมป์ - ชม
โปรดสังเกตุว่า ขึ้นอยู่กับกระสไฟฟ้าเป็นสำคัญ
น้ำ 1 โมล หรือ 18 กรัม จะถูกแยกเป็น ไฮโดรเจนจำนวน 1 โมล และ ออกซิเจน จำนวน 1/2 โมล



 แสดงความคิดเห็นย่อย แสดงความคิดเห็นย่อย

somsaks จาก หนุ่มกระโทก 202.91.18.204 อาทิตย์, 18/11/2550 เวลา : 21:36  IP : 202.91.18.204   

edit แก้ไขคำตอบ   delete ลบคำตอบ 15095

คำตอบที่ 11
       ปริมาณไฮโดรเจน 1 โมลคือ แค่สองกรัม

ออกซิเจนครึ่งโมลคือ 16 กรัม

ไฮโดรเจน 2 กรัม เอาไปทำไร ??
ได้ปริมาตรของไฮโดรเจน 22.4 ลิตร

26.8 แอมป์ ชม ได้ ไอโดรเจน 22.4 ลิตร
ถ้ามีชั้นเชิงอาจผลิตได้ ร้อยกว่าลิตร แต่ต้องใช้เวลาถึง 1 ชม เท่าไหร่ถึงจะพอ ??

สมมุติเก่งจัด ผลิตแกสไฮโดรเจนได้ 12 กรัม
ขยัน ๆ ลองไปค้นดูครับว่า ไฮโดรเจน 12 กรัม ได้พลังงานเท่าไหร่

ย้อนกลับมาคิดแบบหยาบ ๆ อีกที

เครื่องยนต์ มีประสิทธิภาพ ผมให้ 40% เลยเอ้า
หมายถึง ใส่ไป 100 ออกมา 40 ที่เหลือสูญเสียไปในรูปความร้อน

พลังงานที่ไดนาโมปั่นมาได้ ผมให้ 50% เลยเอ้า
หมายถึงใส่พลังงานเข้าไป 100 ออกมาแค่ 50
จริง ๆ แล้ว ไม่ได้เนื่องจากว่าต้องสูญเสียในรูปความร้อนที่
ตัวไดนาโมเองครึ่งหนึ่งเสมอ จึงจะจ่ายพลังงานออกมาได้สูงสุด

เห็นหรือยังครับว่า ใส่ไป 100% ออกมา 50%
ไอ้ 50% ที่เหลือ เสียไปอีก 60% ในเครื่องยนต์
เท่ากะบว่าเหลือ 20% เท่านั้น ( 40% ของ 50% ที่เหลือ )

นี่ยังไม่นับการสูญเสียในรูปความร้อนจาก เซลล์ที่แยกน้ำ
ไม่นับการ สูญเสียในสายพานที่ส่งกำลังให้ไดนาโม(ไดชาร์จ)

คิดหยาบ ๆ ใส่ไป 100 ได้ออกมาแค่ 20% เท่านั้น

ขาดทุนตั้งแต่อยู่ในมุ้งแล้วครับ

ผมไม่เชื่อยังอุตสาห์ทดลองทำตั้งสองชุด ขาดทุนยับเยิน
โทษฐานไม่เชื่อผู้ใหญ่



 แสดงความคิดเห็นย่อย แสดงความคิดเห็นย่อย

somsaks จาก หนุ่มกระโทก 202.91.18.204 อาทิตย์, 18/11/2550 เวลา : 22:05  IP : 202.91.18.204   

edit แก้ไขคำตอบ   delete ลบคำตอบ 15098

คำตอบที่ 12
      

" ชัดเจน เข้าใจง่าย ได้ความรู้ " ต้อง หนุ่มกระโทก เท่านั้น



 แสดงความคิดเห็นย่อย แสดงความคิดเห็นย่อย

kupree จาก kupree อาทิตย์, 18/11/2550 เวลา : 22:51  IP :   

edit แก้ไขคำตอบ   delete ลบคำตอบ 15099

คำตอบที่ 13
       แบบนี่พอไหวไม๊คุณป้อม ??





 แสดงความคิดเห็นย่อย แสดงความคิดเห็นย่อย

somsaks จาก หนุ่มกระโทก 202.91.19.205 จันทร์, 19/11/2550 เวลา : 12:49  IP : 202.91.19.205   

edit แก้ไขคำตอบ   delete ลบคำตอบ 15117

คำตอบที่ 14
      
ข้างใน







 แสดงความคิดเห็นย่อย แสดงความคิดเห็นย่อย

somsaks จาก หนุ่มกระโทก 202.91.19.205 จันทร์, 19/11/2550 เวลา : 12:51  IP : 202.91.19.205   

edit แก้ไขคำตอบ   delete ลบคำตอบ 15118

คำตอบที่ 15
       แบบนี้มีข้อเสียคือ ถึงจุดหนึ่ง แกสจะไม่ค่อยออกมากเท่าที่คำนวณได้ เพราะฟองอากาศมันไม่ยอมออก

และสูญเสียพลังงานในรูปความร้อนมาก

อยากลองเชิญได้นะครับ

ยังมีอีกหลายแบบครับ แล้วแต่ขนาดพื้นที่ ๆ ติดตั้ง



 แสดงความคิดเห็นย่อย แสดงความคิดเห็นย่อย

somsaks จาก หนุ่มกระโทก 202.91.19.205 จันทร์, 19/11/2550 เวลา : 12:55  IP : 202.91.19.205   

edit แก้ไขคำตอบ   delete ลบคำตอบ 15119

คำตอบที่ 16
       จ้าวเทคนิค + เทคโน ต้องโลโก้ " หนุ่มกระโทก " เท่านั้น



 แสดงความคิดเห็นย่อย แสดงความคิดเห็นย่อย

kupree จาก kupree จันทร์, 19/11/2550 เวลา : 14:00  IP :   

edit แก้ไขคำตอบ   delete ลบคำตอบ 15121

คำตอบที่ 17
       คงจะต้องๆ ไปเยี่ยม ที่กระโทก แล้วล่ะครับ พี่หนุ่มฯ



 แสดงความคิดเห็นย่อย แสดงความคิดเห็นย่อย

จาก ป้อม kb2200 161.246.1.32 จันทร์, 19/11/2550 เวลา : 14:55  IP : 161.246.1.32   

edit แก้ไขคำตอบ   delete ลบคำตอบ 15122

คำตอบที่ 18
       มากระโทก กินมันสำปะหลังเหรอครับ 555

ผมแนบตัวอย่างการคำนวณการใช้เชื้อเพลิงมาด้วย

สังเกตุดูที่ไฮโดรเจนด้านล่าง แล้วเทียบกับคำตอบก่อนหน้า ที่ผมบอกไว้ว่าต้องใช้ไฟฟ้าเท่าไหร่

ปริมาณที่ผลิตยังไงก็ไม่ทัน กับ ปริมาณที่ใช้ แม้ว่าจะผสมเพียวแค่ 1 % ยังผลิตไม่ทัน





 แสดงความคิดเห็นย่อย แสดงความคิดเห็นย่อย

somsaks จาก หนุ่มกระโทก 202.91.19.205 จันทร์, 19/11/2550 เวลา : 16:19  IP : 202.91.19.205   

edit แก้ไขคำตอบ   delete ลบคำตอบ 15127

คำตอบที่ 19
       ต่อไปเป็นของฝรั่งบางเจ้าที่ทำมาหลอกขาย

ทั้งในประเทศเขาและ สารขัณฑ์ อย่างเรา







 แสดงความคิดเห็นย่อย แสดงความคิดเห็นย่อย

somsaks จาก หนุ่มกระโทก 202.91.19.205 จันทร์, 19/11/2550 เวลา : 17:36  IP : 202.91.19.205   

edit แก้ไขคำตอบ   delete ลบคำตอบ 15132

คำตอบที่ 20
       ประกอบเสร็จแล้ว ดูดีจัง







 แสดงความคิดเห็นย่อย แสดงความคิดเห็นย่อย

somsaks จาก หนุ่มกระโทก 202.91.19.205 จันทร์, 19/11/2550 เวลา : 17:38  IP : 202.91.19.205   

edit แก้ไขคำตอบ   delete ลบคำตอบ 15133

คำตอบที่ 21
       โปรเจคต่อไป มาช่วยกันทำรถแบบนี้ดีกว่า

แรงและประหยัด

มีโอกาสสำเร็จมากกว่าไฮโดรเจน





 แสดงความคิดเห็นย่อย แสดงความคิดเห็นย่อย

somsaks จาก หนุ่มกระโทก 202.91.19.205 จันทร์, 19/11/2550 เวลา : 21:34  IP : 202.91.19.205   

edit แก้ไขคำตอบ   delete ลบคำตอบ 15143

คำตอบที่ 22
       ขอร่วมสัมมนาด้วยคนครับ
จากตารางที่เขียนว่า Engine Efficiency on Hydrogen 43.00 % หมายถึงอะไรครับ 262ลิตรต่อนาทีหมายถึงใช้ Hydrogen ล้วนๆ หรือเปล่า แล้วถ้าสามารถผลิต Hydrogen ได้มากพอจะไปใช้งานกับเครื่องยนต์เดิมๆ ยังไงครับ



 แสดงความคิดเห็นย่อย แสดงความคิดเห็นย่อย

จาก H2O 125.26.248.7 อังคาร, 20/11/2550 เวลา : 08:38  IP : 125.26.248.7   

edit แก้ไขคำตอบ   delete ลบคำตอบ 15209

คำตอบที่ 23
       ขอขยายความขี้เท่อครับ

-Engine Efficiency on Hydrogen 43.00 % หมายถึงประสิทธิภาพของเครื่องยนต์ครับ
ค่านี่คงเผื่อมาให้แล้ว พราะว่าจะเอามาคำนวณว่าต้องใช้พลังงานเท่าไหร่ คือใส่ไป 100 ออกมาแค่ 43

-262 ลิตรต่อนาทีคือ ค่าจำนวนปริมาณของโดรเจนครับ

-ถ้าสามารถผลิต Hydrogen ได้มากพอจะไปใช้งานกับเครื่องยนต์เดิมๆ ยังไงครับ
คงต้องถาม BMW มากกว่าถามผมครับ เพราะว่าเขาฝ่าฟันมาหลายปี หมดเงินมาเป็นร้อยล้านพันล้าน



 แสดงความคิดเห็นย่อย แสดงความคิดเห็นย่อย

somsaks จาก หนุ่มกระโทก 202.91.19.205 อังคาร, 20/11/2550 เวลา : 09:20  IP : 202.91.19.205   

edit แก้ไขคำตอบ   delete ลบคำตอบ 15218

คำตอบที่ 24
       ตาม Link นี้ไปดูครับ เขาบอกไม่ถึง 1 Amp ครับ
http://www.free-energy-info.co.uk/D14.pdf

ใครจะทำเผื่อผม 1 อัน ครับ Electronic ไม่ต้องครับ อยากได้แต่ตัวแยกแกสนะครับ

ที่ web นี้มีหลายแบบครับ
http://www.free-energy-info.co.uk/

แหมอยากได้ของคุณหนุ่ม อามา Modify จังครับต้องทำไงถึงจะได้ครับ



 แสดงความคิดเห็นย่อย แสดงความคิดเห็นย่อย

จาก Sabyes 58.64.42.133 พฤหัสบดี, 22/11/2550 เวลา : 08:48  IP : 58.64.42.133   

edit แก้ไขคำตอบ   delete ลบคำตอบ 15269

คำตอบที่ 25
       คุณ Patrick เป็นขาวอังกฤษ สงสัยว่าจะมีอายุราว ๆ ห้าสิบกว่า ๆ

ผมเคยเมล์ไปคุยด้วยสองสามครั้ง ได้รับคำตอบทุกครั้ง เคยคุยเรื่องอายุและอาชีพ
เสียดายความจำสั้นเหมือนแป่นแป๊น เลยจำไม่ได้

แบบตาม D14 เลียนแบบ นาย Stanley Meyer ที่เด้ด สะมอเร่แล้ว รถที่ทดลองตอนนั้นเป็นรถบั๊คกี้ คุยว่าไม่ต้องใช้น้ำมัน

ทุกวันนี้ ใช้น้ำอย่างเดียว ยังไม่มีคนทำได้ครับ



 แสดงความคิดเห็นย่อย แสดงความคิดเห็นย่อย

somsaks จาก หนุ่มกระโทก 202.91.18.206 พฤหัสบดี, 22/11/2550 เวลา : 17:32  IP : 202.91.18.206   

edit แก้ไขคำตอบ   delete ลบคำตอบ 15303

คำตอบที่ 26
       http://www.dangservice.com/

http://www.dangservice.com/lpg.htm

แล้วพบกันครับ ผมทำอยู่ครับ 086-3695808



 แสดงความคิดเห็นย่อย แสดงความคิดเห็นย่อย

จาก นรงค์ 61.7.181.118 พฤหัสบดี, 3/7/2551 เวลา : 19:18  IP : 61.7.181.118   

edit แก้ไขคำตอบ   delete ลบคำตอบ 28841

คำตอบที่ 27
       เอาใจช่วยทุกท่านครับ ขอให้สำเร็จสมประสงค์
แบบในรูปที่ 21 ของคุณหนุ่มเป็นเครื่องเจ็ทแบบไหนครับ ดูท่าจะสนุกแต่ก็หวาดเสียวน่าดู แต่อย่าลืมต้องคิดแบบใช้น้ำมันปาล์มด้วยนะครับ เดี๊ยวเสียชื่อชาวชมรม ฯ หมด ว้าวว




 แสดงความคิดเห็นย่อย แสดงความคิดเห็นย่อย

จาก ลุงรถเก่า 58.9.165.118 พฤหัสบดี, 3/7/2551 เวลา : 20:14  IP : 58.9.165.118   

edit แก้ไขคำตอบ   delete ลบคำตอบ 28842

คำตอบที่ 28
       ผมขออณุญาตเถียงนิสสนึงครับ

การใช้ไฮโดรเจนเป็นเชื้อเพลิงร่วมกับเชื้อเพลิงไฮโดรคาร์บอนนั้นทำได้ทั้งในทฤษฏีและทางปฏิบัติเลยครับ
ผมคิดแล้วคิดอีก ยังไงมันก็เหลือใช้ครับ

เอาคร่าวๆ นะครับ สมมติว่า เราสร้างเครื่องผลิต ไนโตรเจน โดยใช้แบตเตอรี่ 12V ในรถเรานี่แหละ...สามารถผลิตก๊าซไนโตรเจนได้ 1 ลิตร/นาที

และสมมติอีกว่า ติดตั้งกับเครื่องยนต์ 4 สูบ 2,000 cc. ทำงานที่รอบสูงสุด 6,000 rpm เลยเอ้า!!

ทีนี้ขอเฉียดเข้าไปทางวิชาการหน่อยนะครับ
ทางทฤษฎีการเผาไหม้ของไฮโดรเจนมีอยู่ว่า จุด stoichiometric ของมันอยู่ที่ประมาณ 34:1 โดยน้ำหนัก (เท่าที่ผมคิดออกมา ที่ออกซิเจนในอากาศ 23% จุดนี้จะรวมอากาศส่วนเกินของการเผาไหม้ 10% ไว้แล้ว) คือ อากาศ 34 kg. ต่อ ไฮโดรเจน 1 kg. และเชื่อว่าทุกท่านก็ทราบดีว่า ก๊าซไฮโดเจนเป็นอะไรที่เบามากๆๆๆๆๆ เบาที่สุด
เอาเป็นว่าถ้าคิดที่จุด stoichiometric ก๊าซไฮโดรเจน 1 ลิตร นี่จะต้องการอากาศในการเผาไหม้ ถึง 25,300 ลิตรน่ะครับ แล้วมาว่ากันที่ ไอ้เครื่องยนต์ที่ผมสมมติขึ้นมาคือ 4 สูบ 2 ลิตร@6,000 rpm จะ "ดูด" อากาศทั้งสิ้นแค่ "3,000 ครั้ง/นาที" นะครับ แสดงว่า หนึ่งนาที เครื่องยนต์ผมดูดอากาศได้ 6,000 ลิตร นี่คิดซะว่า เครื่องผมนี่มันมีประสิทธภาพทางปริมาตร เต็ม 100% เลย เรายังเหลือส่วนต่างอีกตั้ง เกือบๆ สองหมื่นลิตร มันไม่ใช่ตัวเลขที่โอเว่อร์นะครับ เพราะน้ำหนักโมเลกุลของไฮโดรเจนมันคือ 1 เบามากๆ เอาง่ายๆ ถ้าเรามีก๊าซไฮโดนเจน 1 cc. ถ้าเอาไปชั่งดูมันจะหนักแค่ 0.0000899 g. แค่นั้นเองครับ

แล้วถ้ามีคำถามอีกว่า "แล้วไอ้เครื่องเติมไฮโดรเจนน่ะ มันคุ้มกะที่ไปเพิ่มโหลดให้เครื่องยนต์หรือเปล่า?"

ตอบได้เลยครับว่า คุ้ม....
การผลิตให้ใด้ก๊าซ 1 ลิตร/นาทีนี่คงไม่ใช้ไฟเกิน 10 แอมป์ มั้งครับ ถ้าใช้ไฟไม่เกินนี้ก็ไม่มีปัญหาอะไร แต่ถ้ามันเป็นเครื่องยนต์ใหญ่ ต่อเซลหลายๆ เซล ก็มีวิธีครับ คือใช้อัลเตอร์เนเตอร์ของมันเอง ซึ่งมันก็เป็นอัตราส่วนกันอยู่แล้วว่า เครื่องยนต์ใหญ่ ต้องการเชื้อเพลิงมาก ให้กำลังสูงกว่าเครื่องเล็ก ฉะนั้น การเพิ่มอัลเทอร์เนเตอร์ให้มันก็ไม่ใช้เรื่องที่เหนือบ่ากว่าแรงของมันหรอกครับ หรืออออ อีกวิธีหนึ่ง ถ้าไม่อยากไปทำอะไรกับเครื่องยนต์ ก็หาแบตเตอรี่ความจุเยอะๆ มาใช้ ทำวงจรควบคุมให้มันหน่อย เวลาจอดที่บ้านก็ เสียบไฟ ชาร์ตแบต อ้าว เกิดคำถาม?? แล้วมันจะคุ้มกับค่าไฟเหรอ?? ต้องลองไปคิดดูครับว่าจะจ่ายค่าน้ำมันหรือจ่ายค่าไฟ เพราะราคามันต่างกันมากมาย แล้วอีกอย่าง คือมันไม่ต้องมาชาร์ตกันทุกวันหรอก เนอะ !!!!

เรื่องไฟฟ้านี่ถ้าเพิ่มแรงเคลื่อนให้มัน กระแสมันก็จะลดลงเองครับ อันนี้เอาไปประยุกต์ ใช้ควบคุมการผลิตได้นะ อิอิ



 แสดงความคิดเห็นย่อย แสดงความคิดเห็นย่อย

จาก Snowman 222.123.94.27 อังคาร, 30/9/2551 เวลา : 00:22  IP : 222.123.94.27   

edit แก้ไขคำตอบ   delete ลบคำตอบ 32571

คำตอบที่ 29
       โอย อ่านแล้วงงกะตัวเอง แฮ่ๆ

เสริมนิดครับ
ไฮโดรเจนสามารถติดไฟได้ที่อัตรส่วนผสมบางมากๆ (สามารถไปได้ถึง 180:1) และเปลวไฟลามไปอย่างรวดเร็วแม้จะมีค่าออกเทนถึง 140 ซึ่งเครื่องยนต์ที่ใช้เชื้อเพลิงไฮโรเจนจะมีคุณลักษณะการเผาไหม้ใกล้เคียงกับเครื่องยนต์ในอุดมคติที่สุดครับ และในทฤษฎีที่ผมว่าไว้ด้านบนนั่นคือที่ส่วนผสม "พอดี" แต่ถ้าหากก๊าซที่เราผลิตออกมาแล้วเหลืออย่างเช่นตัวอย่างด้านบน ก็จ่ายให้เครื่องยนต์รับประทานไปให้หมดนั่นแหละครับ เพราะส่วนเกินนั่นคือกำไร ส่วนผสมที่หนาขึ้นก็จะช่วยให้กำลังเครื่องยนต์ดีขึ้น ทีนี้เครื่องยนต์เราก็ใช้น้ำมันแค่ตอนเดินเบาก็พอครับ พอเร่งแล้วให้มันตัดน้ำมันออกไป ใช้ไฮโดรเจนแทน

อีกอย่างๆๆ ท่านที่ทดลองแล้วไม่ประสบผลสำเร็จบางทีต้องดูตัวแปรหลายๆ ตัวด้วยครับ เพราะตัวแปรมันเยอะมา ทุกเรื่องที่เกี่ยวข้องเป็นตัวแปรทั้งสิ้น ต้องควบคุมให้ได้มากที่สุดแล้วจะได้ผลการทดสอบที่ใกล้เคียงกับทฤษฎีครับ



 แสดงความคิดเห็นย่อย แสดงความคิดเห็นย่อย

จาก Snowman 222.123.94.27 อังคาร, 30/9/2551 เวลา : 00:35  IP : 222.123.94.27   

edit แก้ไขคำตอบ   delete ลบคำตอบ 32572

คำตอบที่ 30
      
ผลิตได้ หนึ่งลิตรต่อนาที เป็น ไฮโดรเจนกี่ซีซี
สมมุติให้มันเป็น 100% เลยคือ หนึ่งลิตรเต็ม ๆ
ถ้าเอาเป็นไฮโดรเจนล้วน ๆ ผมว่าน่าจะเกินสิบแอมป์

อัตราส่วนที่บอกมาหมายถึงเผาไม้หรือติดไฟได้
แต่ไม่ได้หมายถึงมีพลังงานมากพอหรือเปล่า

แล้วตัวแปรมีอะไรบ้างครับ ช่วยแจ้งแถลงไขหน่อย




 แสดงความคิดเห็นย่อย แสดงความคิดเห็นย่อย

จาก NKT 202.91.18.204 อังคาร, 30/9/2551 เวลา : 07:55  IP : 202.91.18.204   

edit แก้ไขคำตอบ   delete ลบคำตอบ 32576

      

ยังมีคำตอบมากกว่านี้นะครับ คลิ๊กเพื่อดูหน้าถัดไป


คำตอบแบ่งหน้าละ 30 คำตอบ ขณะนี้คุณอยู่ที่หน้า 1 จาก >>> 1  2  



website รองรับการใช้งานทุกระบบปฏิบัติการของ PC Tablet SmartPhone ทุกระบบสามารถโพสข้อความและรูปภาพได้โดยไม่ต้องย่อไฟล์
เพื่อความปลอดภัยในการใช้ website WeekendHobby.Com สมาชิก เท่านั้น จึงจะตั้งกระทู้ หรือ ตอบกระทู้ได้ครับ
Login Click ที่นี่
สมัครสมาชิก Click ที่นี่



Since 22, Feb 2001 hit counter View My Stats  Truehits.net      วันเสาร์,14 กุมภาพันธ์ 2569 (Online 3463 คน)