WeekendHobby.com
เครื่องมือในการใช้งาน website =>> สมัครสมาชิก | Login | Logout | เปลี่ยนไอคอนส่วนตัว | เกี่ยวกับเรา | ติดต่อโฆษณา         View stat by Truehits.net


เชิญร่วมคาราวานปลูกป่า 3 ก.ค. 47

จาก ใหม่ สยามออฟโรด
202.176.138.42
จันทร์ที่ , 14/6/2547
เวลา : 10:00

อ่านแล้ว = 377 ครั้ง


       ชมรมสยามออฟโรด เชิญร่วมคาราวานปลูกป่า ห้วยน้ำห้อม-เขามะค่า 3 ก.ค. 47 นี้ รายละเอียดเพิ่มเติม เชิญชมที่ www.siamoffroadclub.com ขอบคุณล่วงหน้าครับ








คำตอบที่ 1
       เอา กำหนดการเดินทาง และ กิจกรรม + แผนที่ มาฝากครับ เพื่อนๆ ที่ ชอบกิจกรรมเบาๆ และได้ประโยชน์ เชิญมาจอยกันครับ



จาก ใหม่ - สยามออฟโรด 202.176.138.116 ศุกร์, 25/6/2547 เวลา : 08:39   


คำตอบที่ 2
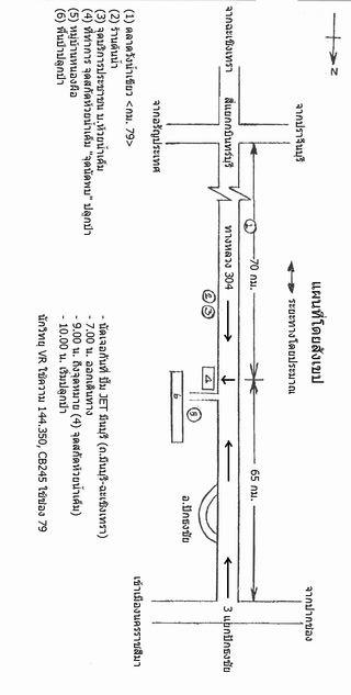
       แผนที่ อช.ทับลาน



จาก ใหม่ - สยามออฟโรด 202.176.138.116 ศุกร์, 25/6/2547 เวลา : 08:40   


คำตอบที่ 3
       แผนที่ภายใน อช.ทับลาน



จาก ใหม่ - สยามออฟโรด 202.176.138.116 ศุกร์, 25/6/2547 เวลา : 08:40   

กระทู้ข้อมูลเก่า สำหรับอ่านได้อย่างเดียว

คำตอบแบ่งหน้าละ 30 คำตอบ ขณะนี้คุณอยู่ที่หน้า 1 จาก >>>
1  


Program Date :6/1/2557


      




Since 22, Feb 2001 hit counter View My Stats  Truehits.net      วันเสาร์,18 เมษายน 2569 (Online 1606 คน)